Apple has been researching how to make even the light seal on an Apple Vision Pro become a touch-sensitive control surface.
For a device that is primarily intended to interpret gestures, the Apple Vision Pro doesn't come with many buttons. There's only the Apple Watch-like Digital Crown, and the iPhone-like top physical button, but Apple seems to see fitting more options in as a personal challenge.
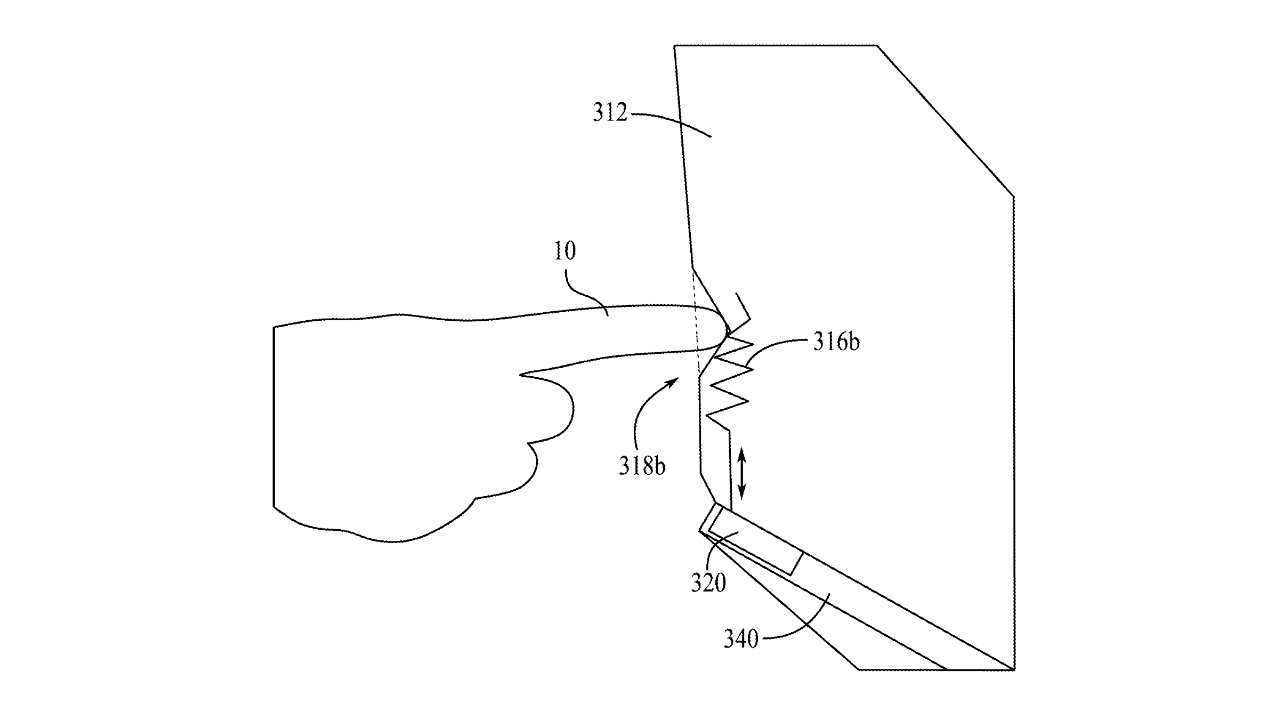
In a newly-granted patent called "Touch Sensitive Input Surface," Apple proposes adding "a touch sensitive surface incorporated into the cover to receive input from a user for the head-mountable device."
More specifically, Apple has been looking at "light seals for head-mountable devices that include touch-sensitive input surfaces." The light seal gives the Apple Vision Pro user a distraction-free working space by blocking out views of the outside environment.
But Apple argues that there is a need for further functionality in a headset, although it doesn't specify what. Instead, it puts forward the argument that greater use or functionality is required, but it's equally required "not to increase the size or weight of the head-mountable device."
Consequently, everything that has to be in the headset must also be looked at to see if it can also offer more controls or options, beyond its initial purpose. So that could mean adding "a strain gauge disposed [within] the frame to detect a deflection of the frame."
That would mean allowing the user to be able to press on the frame and have that pressure registered. As a patent, Apple's document is not concerned with what would then be done with that registered pressure, only how it could be done.

Similarly, "the input sensor of the wearable electronic device includes a strain gauge connected to fabric in the light-blocking material." In that case, the user would be able to touch or perhaps swipe on the outside of the light seal to again trigger some control.
Or rather, the user would be able to do this if they could find the light seal. While wearing the headset, it would at least initially be difficult to judge exactly where one was touching the seal, so there's a chance of false positives — or of swiping the volume up when you meant to swipe it down.
Apple proposes that the Apple Vision Pro would include an indicator in-view, "to direct the user to the touch-sensitive surface." While this is not stated in the patent, conceivably the headset could recognize that the wearer is raising their arm as if to use the control, and so then display this indicator to guide them.
That "visual cue generated on the display," would seem to make the most sense. However, Apple does also propose that an "indicator includes a light-emitting diode positioned on an inner surface of the cover to guide the user to the touch-sensitive surface."
There is the fact that the existing top button can be used when what is wanted is a single, double, or continuous press. And equally for any control such as volume or brightness that needs a moving selection, there is the existing Digital Crown.
Perhaps, then, this proposal was one considered and so far rejected by Apple. Or conceivably, it will become more clearly useful if there are future versions of the Apple Vision Pro that remove the physical buttons.
That might fit with how the most recent rumors claim that Apple is making a lighter Apple Vision Pro. It's not expected to be released before 2027.
This patent is credited to four inventors, including Darshan R. Kasar. According to his LinkedIn profile, he has been with Apple for almost 13 years and is currently a technical lead on the Apple Vision Pro product design group.