The FaceTime camera on a MacBook Pro is famously not as good as one on an iPhone, but new research shows Apple is continuing to work on it — and may have decided that the answer involves mounting larger cameras on a rotating display.
Maybe you don't give the camera notch on the MacBook Pro a second thought. But even if you loathe it, and believe it's taking up screen real estate, the one thing you can't say is that it is thick.
It's quite wide, wide enough that you wonder why it doesn't include Face ID yet. But it doesn't add to the thickness of the MacBook Pro lid, and maybe it's this thickness that limits how good a camera system Apple can fit in there.
Rather than necessarily waiting for when it can make slimmer components, Apple has been investigating taking a different route. A newly-granted patent application called "Camera integration for portable electronic devices," totally ignores trying to be slim, and instead focuses on providing the camera system the MacBook Pro needs.
What's more, while this is a new patent, it's not a new idea. For Apple was already granted a patent of the same name and on what at least appears to be precisely the same topic, in July 2024.
It's not uncommon for Apple to re-apply for a patent, and all it may really signify is that the company is continuing to pursue an idea.
In this specific case, the drawings of the idea suggest that the thickness of the new camera system would not exceed 3mm. And it's certain that it would protrude from the MacBook Pro lid.
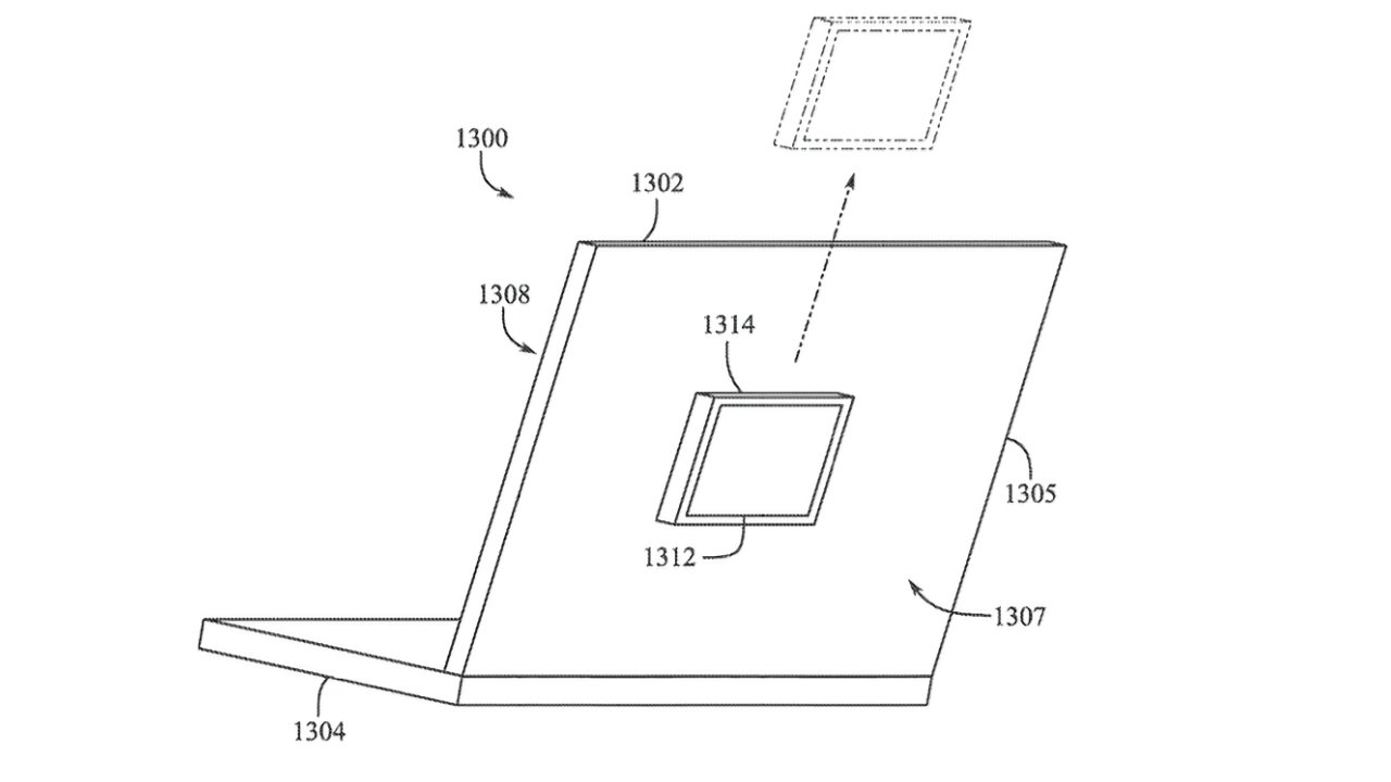
One obvious question is about how wide that protrusion would be, but then a less obvious question is over where it would be positioned. For many of its patent drawings, Apple has it appearing "at least partially positioned at a notch defined by the display assembly."
But then in others, what it calls a "second camera module," can be moved to one side of the screen. Or it can even be removed from the front and affixed to the back.
In what sounds like it must be using magnets, Apple's patent application describes an "optical component" that is attached to the "wall" (or lid) of the MacBook Pro. "The optical component can be configured to be removably retained against the wall by the retention component," it says, "and to be removably retained against the display assembly by the retention component."
There are repeated references to the camera module being able to communicate with other such modules. In a key example, one camera protrudes from the front of the display, facing the user, and another sticks out from the back.

It's hard to imagine that this could be a workable video conferencing system, with some participants facing the display and some not. Any improved adjustment of angle for the user at the keyboard must make the framing wrong for the people behind it.
With a little distance between the MacBook and the people being filmed by the camera, though, this could resemble the promise of the iPhone 11. While ultimately limited to HD and so less usable than Apple claimed, that iPhone could shoot video from its front and rear cameras simultaneously.

Perhaps a MacBook with two such camera modules could be used for this. Or perhaps one camera module on the back of the MacBook Pro could shoot an interviewee while the interviewer just uses the built-in FaceTime camera.
However, there is one more suggestion in this new patent that first seems like a revolutionary step — quite literally.
"A portable electronic device can include a base portion including an input component, a display portion rotatably attached to the base portion," says the patent.
So a user could mount one of these extra camera models on the back of the MacBook Pro lid, and then rotate the whole display when they want to be filmed. Or mount it on the front and rotate the display when they want to use a camera module's LiDAR sensor, for instance.
Unusually for a patent, this one also doesn't concentrate on either what rotation would be beneficial for, or how it would be achieved. Its aim is to establish the protruding camera or sensor modules, and the descriptions about rotation concern how much display area would be seen.
Even a regular hinged display is a bit of a marvel of electronics, and strain on the flexing cables has always been an issue. But perhaps it isn't any longer, as a rotating display need not have cabling through its axis — it could be a wireless screen.
If such a screen were to be a Sidecar-like one, then that would also enable the patent's last idea about displays.

The patent application suggests that instead of rotating about an axis or pivot, a MacBook Pro display could be picked up out of the unit and repositioned. So the lid could be detached from the keyboard area, turned around, and slotted back into position.
As soon as you do that, you raise the potential of screens or keyboard units that are in some way configurable to suit different needs. But this application doesn't go into that.
The patent application is credited to four inventors. They include Keith J. Hendren, whose previous work includes research into making an iMac from a single sheet of glass.